Мотосалон «DISCOVERY»
Интернет-магазин представительского класса
Интернет-магазин
Квадроциклы CFMOTO
Мотоциклы CFMOTO
Запчасти CFMOTO
Для квадроциклов
Для мотоциклов
Для двигателей
Аксессуары CFMOTO
Силовые бамперы, отвалы, площадки, прочее
Кофры
Расширители арок
Канистры
Выносы радиаторов
Защиты днища
Светодиодная оптика
Противоугонные системы Цезарь Сателлит
Обогревающие устройства
Двери, крыша
Стекла ветровые, панели, наклейки
Аккумуляторы DELTA
Амортизаторы
Лебедки
Чехлы
Шины и Диски
Запчасти для снегоходов
Для снегоходов (оригинальный каталог)
Запчасти для снегоходов
Мототехника с пробегом
Квадроциклы с пробегом
Мотобуксировщики
Мотобуксировщик UKON
Снегоходы OSM
Сани-волокуши, прицепы
Акции
Услуги
Ремонт , предпродажная подготовка и плановое ТО.
Тюнинг
Новости
Клуб
Как купить
Условия оплаты
Условия доставки
Гарантия на товар
Реквизиты
Контакты
8 (800) 302-69-26
8 (800) 302-69-26Бесплатно по РФ
8 (495) 128-00-69
Задать вопрос
Войти
  • Корзина0
  • Избранные товары0
  • Сравнение товаров0
Ваш город
Рыбинск
Архангельск
Мезень
Рыбинск
Ярославль
moto4x4@list.ru
г. Рыбинск, Ярославской обл.,ул. Ломоносова, д. 35
  • Вконтакте
Мотосалон «DISCOVERY»
Ваш город
Рыбинск
Архангельск
Мезень
Рыбинск
Ярославль
8 (800) 302-69-26
8 (800) 302-69-26Бесплатно по РФ
8 (495) 128-00-69
Войти
Сравнение0
Избранные товары 0
Корзина 0
Интернет-магазин
  • Квадроциклы CFMOTO
    Квадроциклы CFMOTO
  • Мотоциклы CFMOTO
    Мотоциклы CFMOTO
  • Запчасти CFMOTO
    Запчасти CFMOTO
    • Для квадроциклов
    • Для мотоциклов
    • Для двигателей
  • Аксессуары CFMOTO
    Аксессуары CFMOTO
    • Силовые бамперы, отвалы, площадки, прочее
    • Кофры
    • Расширители арок
    • Канистры
    • Выносы радиаторов
    • Защиты днища
    • Светодиодная оптика
    • Противоугонные системы Цезарь Сателлит
    • Обогревающие устройства
    • Двери, крыша
    • Стекла ветровые, панели, наклейки
    • Аккумуляторы DELTA
    • Амортизаторы
    • Лебедки
    • Чехлы
    • Шины и Диски
    • +  ЕЩЕ 13
  • Запчасти для снегоходов
    Запчасти для снегоходов
    • Для снегоходов (оригинальный каталог)
    • Запчасти для снегоходов
  • Мототехника с пробегом
    Мототехника с пробегом
    • Квадроциклы с пробегом
  • Мотобуксировщики
    Мотобуксировщики
    • Мотобуксировщик UKON
  • Снегоходы OSM
    Снегоходы OSM
  • Сани-волокуши, прицепы
    Сани-волокуши, прицепы
Акции
Услуги
  • Ремонт , предпродажная подготовка и плановое ТО.
  • Тюнинг
Новости
Клуб
Как купить
  • Условия оплаты
  • Условия доставки
  • Гарантия на товар
Реквизиты
Контакты
+  ЕЩЕ
    Скидка 10% на запчасти РМ при заказе от 50к
    Мотосалон «DISCOVERY»
    Интернет-магазин
    • Квадроциклы CFMOTO
      Квадроциклы CFMOTO
    • Мотоциклы CFMOTO
      Мотоциклы CFMOTO
    • Запчасти CFMOTO
      Запчасти CFMOTO
      • Для квадроциклов
      • Для мотоциклов
      • Для двигателей
    • Аксессуары CFMOTO
      Аксессуары CFMOTO
      • Силовые бамперы, отвалы, площадки, прочее
      • Кофры
      • Расширители арок
      • Канистры
      • Выносы радиаторов
      • Защиты днища
      • Светодиодная оптика
      • Противоугонные системы Цезарь Сателлит
      • Обогревающие устройства
      • Двери, крыша
      • Стекла ветровые, панели, наклейки
      • Аккумуляторы DELTA
      • Амортизаторы
      • Лебедки
      • Чехлы
      • Шины и Диски
      • +  ЕЩЕ 13
    • Запчасти для снегоходов
      Запчасти для снегоходов
      • Для снегоходов (оригинальный каталог)
      • Запчасти для снегоходов
    • Мототехника с пробегом
      Мототехника с пробегом
      • Квадроциклы с пробегом
    • Мотобуксировщики
      Мотобуксировщики
      • Мотобуксировщик UKON
    • Снегоходы OSM
      Снегоходы OSM
    • Сани-волокуши, прицепы
      Сани-волокуши, прицепы
    Акции
    Услуги
    • Ремонт , предпродажная подготовка и плановое ТО.
    • Тюнинг
    Новости
    Клуб
    Как купить
    • Условия оплаты
    • Условия доставки
    • Гарантия на товар
    Реквизиты
    Контакты
    +  ЕЩЕ
      Сравнение0 Избранные товары 0 Корзина 0
      Мотосалон «DISCOVERY»
      Сравнение0 Избранные товары 0 Корзина 0
      Телефоны
      8 (800) 302-69-26Бесплатно по РФ
      8 (495) 128-00-69
      • Интернет-магазин
        • Назад
        • Интернет-магазин
        • Квадроциклы CFMOTO
        • Мотоциклы CFMOTO
        • Запчасти CFMOTO
          • Назад
          • Запчасти CFMOTO
          • Для квадроциклов
          • Для мотоциклов
          • Для двигателей
        • Аксессуары CFMOTO
          • Назад
          • Аксессуары CFMOTO
          • Силовые бамперы, отвалы, площадки, прочее
          • Кофры
          • Расширители арок
          • Канистры
          • Выносы радиаторов
          • Защиты днища
          • Светодиодная оптика
          • Противоугонные системы Цезарь Сателлит
          • Обогревающие устройства
          • Двери, крыша
          • Стекла ветровые, панели, наклейки
          • Аккумуляторы DELTA
          • Амортизаторы
          • Лебедки
          • Чехлы
          • Шины и Диски
        • Запчасти для снегоходов
          • Назад
          • Запчасти для снегоходов
          • Для снегоходов (оригинальный каталог)
          • Запчасти для снегоходов
        • Мототехника с пробегом
          • Назад
          • Мототехника с пробегом
          • Квадроциклы с пробегом
        • Мотобуксировщики
          • Назад
          • Мотобуксировщики
          • Мотобуксировщик UKON
        • Снегоходы OSM
        • Сани-волокуши, прицепы
      • Акции
      • Услуги
        • Назад
        • Услуги
        • Ремонт , предпродажная подготовка и плановое ТО.
        • Тюнинг
      • Новости
      • Клуб
      • Как купить
        • Назад
        • Как купить
        • Условия оплаты
        • Условия доставки
        • Гарантия на товар
      • Реквизиты
      • Контакты
      • Рыбинск
        • Назад
      • Личный кабинет
      • Корзина0
      • Избранные товары0
      • Сравнение товаров0
      • 8 (800) 302-69-26Бесплатно по РФ
        • Назад
        • Телефоны
        • 8 (800) 302-69-26Бесплатно по РФ
        • 8 (495) 128-00-69
      Контактная информация
      г. Рыбинск, Ярославской обл.,ул. Ломоносова, д. 35
      moto4x4@list.ru
      • Вконтакте

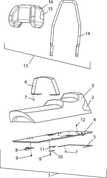
      Сиденье 110102500 Буран Лидер

      17
      Главная
      —
      Каталог
      —
      Запчасти для снегоходов
      —
      Для снегоходов (оригинальный каталог)
      —
      Буран Лидер
      —Сиденье 110102500 Буран Лидер
      Сиденье 110102500 Буран Лидер
      Фильтр
      В корзину
      1
      Сиденье 110102500
      Быстрый просмотр
      Сиденье 110102500
      15 575 руб./шт
      Варианты цен
      15 575 руб./шт
      Подробности
      В корзинуВ корзине
      2
      Подушка сиденья C40101101
      Быстрый просмотр
      Подушка сиденья C40101101
      6 084 руб./шт
      Варианты цен
      6 084 руб./шт
      Подробности
      В корзинуВ корзине
      3
      Чехол сиденья C40102610
      Быстрый просмотр
      Чехол сиденья C40102610
      3 821 руб./шт
      Варианты цен
      3 821 руб./шт
      Подробности
      В корзинуВ корзине
      4
      Основание C40102501-01
      Быстрый просмотр
      Основание C40102501-01
      Под заказ
      Наши менеджеры обязательно свяжутся с вами и уточнят условия заказа
      5
      Прокладка защитная 110100233-02
      Быстрый просмотр
      Прокладка защитная 110100233-02
      632 руб./шт
      Варианты цен
      632 руб./шт
      Подробности
      В корзинуВ корзине
      6
      Ремень C40102502
      Быстрый просмотр
      Ремень C40102502
      72 руб./шт
      Варианты цен
      72 руб./шт
      Подробности
      В корзинуВ корзине
      7
      Скоба  14-12,9-0,95 SUМАКЕ 80-14 фирмы Suмаке Indusтriаl Со, Ltd
      Быстрый просмотр
      Скоба 14-12,9-0,95 SUМАКЕ 80-14 фирмы Suмаке Indusтriаl Со, Ltd
      Под заказ
      Наши менеджеры обязательно свяжутся с вами и уточнят условия заказа
      8
      Петля C40101120-01
      Быстрый просмотр
      Петля C40101120-01
      369 руб./шт
      Варианты цен
      369 руб./шт
      Подробности
      В корзинуВ корзине
      9
      Заклепка 4,8х21 TNRBP
      Быстрый просмотр
      Заклепка 4,8х21 TNRBP
      Под заказ
      Наши менеджеры обязательно свяжутся с вами и уточнят условия заказа
      10
      Скоба C40103842
      Быстрый просмотр
      Скоба C40103842
      158 руб./шт
      Варианты цен
      158 руб./шт
      Подробности
      В корзинуВ корзине
      11
      Ремень C40103880
      Быстрый просмотр
      Ремень C40103880
      651 руб./шт
      Варианты цен
      651 руб./шт
      Подробности
      В корзинуВ корзине
      12
      Гайка 110100428
      Быстрый просмотр
      Гайка 110100428
      55 руб./шт
      Варианты цен
      55 руб./шт
      Подробности
      В корзинуВ корзине
      13
      Спинка сиденья 110102270
      Быстрый просмотр
      Спинка сиденья 110102270
      6 145 руб./шт
      Варианты цен
      6 145 руб./шт
      Подробности
      В корзинуВ корзине
      13
      Спинка сиденья 110102270-01
      Быстрый просмотр
      Спинка сиденья 110102270-01
      5 819 руб./шт
      Варианты цен
      5 819 руб./шт
      Подробности
      В корзинуВ корзине
      14
      Рамка 110102271-01
      Быстрый просмотр
      Рамка 110102271-01
      Под заказ
      Наши менеджеры обязательно свяжутся с вами и уточнят условия заказа
      15
      Подушка спинки C40100043
      Быстрый просмотр
      Подушка спинки C40100043
      2 217 руб./шт
      Варианты цен
      2 217 руб./шт
      Подробности
      В корзинуВ корзине
      16
      Чехол спинки C40100060
      Быстрый просмотр
      Чехол спинки C40100060
      1 792 руб./шт
      Варианты цен
      1 792 руб./шт
      Подробности
      В корзинуВ корзине
      Фильтр
      Сортировка
      По популярности (убывание)
      • По популярности (убывание)
      • По популярности (возрастание)
      • По алфавиту (убывание)
      • По алфавиту (возрастание)
      • По цене (убывание)
      • По цене (возрастание)
      Цена
      55
      3 935
      7 815
      11 695
      15 575
      Выбрано 0 Показать
      Выбрано 0 Показать
      Каталог
      • Квадроциклы CFMOTO Квадроциклы CFMOTO
      • Мотоциклы CFMOTO Мотоциклы CFMOTO
      • Запчасти CFMOTO Запчасти CFMOTO
        • Для квадроциклов Для квадроциклов
        • Для мотоциклов Для мотоциклов
        • Для двигателей Для двигателей
      • Аксессуары CFMOTO Аксессуары CFMOTO
        • Силовые бамперы, отвалы, площадки, прочее Силовые бамперы, отвалы, площадки, прочее
        • Кофры Кофры
        • Расширители арок Расширители арок
        • Канистры Канистры
        • Выносы радиаторов Выносы радиаторов
        • Защиты днища Защиты днища
        • Светодиодная оптика Светодиодная оптика
        • Противоугонные системы Цезарь Сателлит Противоугонные системы Цезарь Сателлит
        • Обогревающие устройства Обогревающие устройства
        • Двери, крыша Двери, крыша
        • Стекла ветровые, панели, наклейки Стекла ветровые, панели, наклейки
        • Аккумуляторы DELTA Аккумуляторы DELTA
        • Амортизаторы Амортизаторы
        • Лебедки Лебедки
        • Чехлы Чехлы
        • Шины и Диски Шины и Диски
      • Запчасти для снегоходов Запчасти для снегоходов
        • Для снегоходов (оригинальный каталог) Для снегоходов (оригинальный каталог)
        • Запчасти для снегоходов Запчасти для снегоходов
      • Мототехника с пробегом Мототехника с пробегом
        • Квадроциклы с пробегом
      • Мотобуксировщики Мотобуксировщики
        • Мотобуксировщик UKON Мотобуксировщик UKON
      • Снегоходы OSM Снегоходы OSM
      • Сани-волокуши, прицепы Сани-волокуши, прицепы
      Будьте в курсе наших акций и новостей
      Подписаться
      Статьи
      8 октября 2020
      В Ярославской области прошел “DISCOVERY TROPHY 2.0”
      5 августа 2020
      Квадро пробег «Болотная Выпь 2020»
      5 сентября 2019
      Лучшие снегоходы
      О компании
      Услуги
      Как купить
      Магазины
      Новости
      Контакты
      • Вконтакте
      8 (800) 302-69-26
      8 (800) 302-69-26Бесплатно по РФ
      8 (495) 128-00-69
      moto4x4@list.ru
      Подписаться на рассылку
      Политика конфиденциальности
      Файлы cookie


      Предложения на сайте не являются публичной офертой.
      Уточняйте наличие, цены и технические характеристики у менеджера.
      2026 © Мотосалон «DISCOVERY» —
      Официальный дилер CFMOTO

      Создание сайта Протобайт
      ×
      Продолжая использовать сайт, вы соглашаетесь с политикой использования файлов cookie.